Начать продавать на Deal.by 12 отзывов
+375 (17) 238-11-02
+375 (29) 123-45-57
Минск, Беларусь
Производство железобетонных изделий и конструкций
Оставить отзывНаличие документов
Знак Наличие документов означает, что компания загрузила свидетельство о государственной регистрации для подтверждения своего юридического статуса компании или индивидуального предпринимателя.

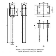
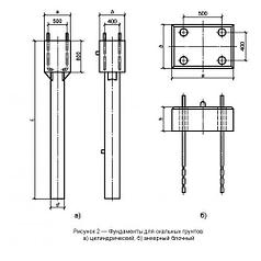
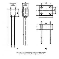
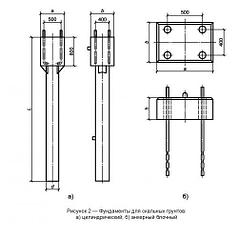
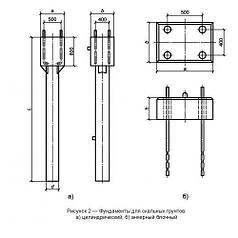
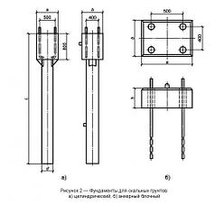
Фундаменты трехлучевые с анкерным креплением стоек для скальных грунтов ГОСТ Р 54272-2010