
Лестничные марши ЛМ 3
Лестничные марши ЛМ 3
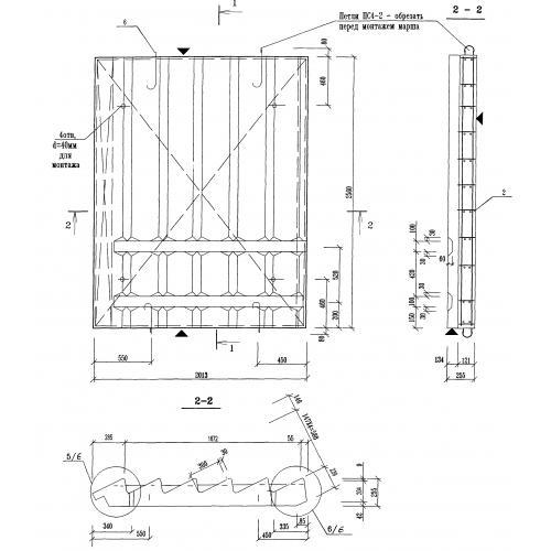
Размеры:
- Длинна: 2013 мм.
- Ширина: 2560 мм.
- Высота: 255 мм.
- Вес: 2275 кг.
- ГОСТ, Серия: Альбом ИЖ 4.2-1 скачать
- Объем бетона: 0,91 м3
- Геометрический объем: 1,3141 м3
- Цена: договорная
Стандарт изготовления изделия: Альбом ИЖ 4.2-1
Лестничные марши ЛМ 3 широко используют в строительстве. Без лестницы сложно представить себе хоть одно высотное здание. Именно с помощью этих элементов люди могут перемещаться между этажами. Очень важно, чтобы данные изделия отвечали самым жестким правилам и нормам безопасности. Для этого при строительстве высотных построек различного назначения используют только железобетонные лестницы.
Марши с гладкой поверхностью ЛМ 3 – это элементы особой формы, которые армированы, поэтому способны обеспечить нужный уровень надежности. Наклонный марш крепится на несущих балках и предназначен для обустройства двух маршевых лестниц. Все правила и основные параметры по данному изделию содержит Серия ИЖ 4.2-1.
1. Варианты маркировки данного изделия.
Маркировочные знаки должны быть нанесены в соответствии с Серией ИЖ 4.2-1. Это буквенно-цифровая комбинация, которая полностью характеризует данные лестничные изделия. Стандарт позволяет производить написание самыми разными вариантами, что не является ошибкой. Укажем основные способы:
1. ЛМ 3 ;
2. ЛМ-3.
2. Основная сфера применения.
Лестничные марши с гладкой поверхностью ЛМ 3 применяют для обустройства высотных зданий. Отличает данные изделия и высокие параметры огнестойкости (предел не менее 1 часа стойкости), поэтому могут применяться лестничные марши данного типа в зданиях жилого назначения, а также в промышленных постройках технического назначения. За счет единой конструкции (но не предусмотрены фризовые ступени) экономится время на монтаже, так как лестничный марш просто устанавливается на балки. Лестничные марши данного типа способны выдерживать вертикальную нагрузку до 3,5 кПа, поэтому выдерживают достаточно внушительные нагрузки без разрушения. Коэффициент надежности по назначении 0,95.
3. Обозначение маркировки.
Лестничные прямые марши ЛМ 3 маркируют согласно Серии ИЖ 4.2-1. Согласно данному стандарту указывают тип изделия, размерный ряд и дополнительно особенности поверхности при помощи маленьких букв. Длина изделий составляет 2013 , ширина – 2560 , высота - 255 , масса – 2275, объем бетона - 0,91 , геометрический объем - 1,3141 . Маркировка наносится на боковую поверхность с дополнительным указанием товарного знака компании-производителя, массы и даты изготовления.
Таким образом, обозначение ЛМ 1 г включает в себя следующие знаки:
1. ЛМ – лестничный марш;
2. 3 – размерная группа.
4. Основные материалы для изготовления.
Изготавливают марши с гладкой поверхностью ЛМ 3 в соответствии с Серии ИЖ 4.2-1. Только качественно изготовленные лестничные марши способны воспринимать нагрузки разного характера. В высотном здании лестничное изделие работает как под статическими, так и динамическими нагрузками, при этом элемент испытывает сжимающие и сдвигающие деформации. Для обеспечения прочности очень важно использовать только высококачественные исходные материалы, которые позволят получить необходимые эксплуатационные характеристики.
В качестве инертных материалов идут: мелких фракций гравийный щебень, мелкозернистый обогащенный песок, а также высокомарочные портландцементы. Это позволяет достичь следующих характеристик ЛМ 3 :
1. Прочность;
2. Водонепроницаемость – марка W4;
3. Морозостойкость – не менее F5 (то есть не менее 5 циклов полного промерзания элемента и последующего его размораживания). Низкие параметры по стойкости к действию отрицательных температур не подразумевают применение данных изделий в неотапливаемом помещении;
4. Трещиностойкость – важный параметр, так как изделие работает на изгиб и на разрыв, при этом поверхность должна сохранять свой первоначальный вид долгое время, включая интенсивную эксплуатацию. Истираемость не должна превышать 0,9 г/см.
Бетон тяжелых марок, из которого изготовлены ЛМ 3 , должен обладать прочность марки на сжатие М300 или соответствовать классу прочности не менее чем В22,5. Технология вибропрессования позволяет достичь максимального уплотнения и жесткости конструкции. При изготовлении марш в форму укладывается "лицом" вниз. Отпускная номинальная прочность составляет 70% от исходного состояния, и 85% - в зимний период.
Используются для усиления конструкции лестничного марша ЛМ 3 специальные пространственные каркасы и рифленая арматура из стали Ст3кп согласно ГОСТ 380-94. Элементы закладываются и закрепляются в форме по строгой технологии, после чего производится заливка бетонной смеси. Арматурные стержни помогают изделию переносить значительные вертикальные нагрузки, поэтому при переносе большого веса лестничный марш не подведет. Для удобства подъема на высоту в тело марша внедряют стальные строповочные петли, а крепление боковых стоек производится к специальным закладным деталям. Все стальные элементы обязательно подвергаются строгому контролю и обрабатывают антикоррозионными защитными составами. Это позволяет предотвратить развитие коррозии и разрушения всего элемента. Арматура покрывается слоем бетона на 15 см.
5. Транспортировка и хранение.
Перевозят марши ЛМ 3 только с применением спецтехники в положении "на боку". Обязательно изделия крепят и прокладывают деревянными подкладками толщиной 30-40 мм., чтобы исключить слом или иные повреждения. Хранение производят в горизонтальной укладке, допускается укладывать элементы "на ребро" при специальном закреплении.
| Основные | |
|---|---|
| Производитель | Собственное производство |
| Страна производитель | Беларусь |
| Пользовательские характеристики | |
| Марка бетона | М300 |
| Состояние | Новое |
- Цена: от 10 руб.
ЗАО «ФРС-Групп»
222302, РБ, Минская обл., г. Молодечно, ул. Великий Гостинец, 143Б, пом. 18, к. 432
Дата регистрации в Торговом реестре/Реестре бытовых услуг: Не подлежит занесению в реестр
Номер в Торговом реестре/Реестре бытовых услуг: Не подлежит занесению в реестр, Республика Беларусь
УНП: 692258268
Регистрационный орган: Молодечненский районный исполнительный комитет
Дата регистрации компании: 20.01.2022
Режим работы:
| День | Время работы |
|---|---|
| Понедельник | 09:00-18:00 |
| Вторник | 09:00-18:00 |
| Среда | 09:00-18:00 |
| Четверг | 09:00-18:00 |
| Пятница | 09:00-18:00 |
| Суббота | Выходной |
| Воскресенье | Выходной |