
Лестничные марши ЛМП 59-12-16-5 н/в
Лестничные марши ЛМП 59-12-16-5 н/в
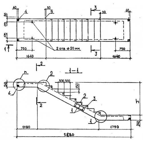
Размеры:
- Длинна: 5880 мм.
- Ширина: 1200 мм.
- Высота: 1600 мм.
- Вес: 2800 кг.
- ГОСТ, Серия: Серия ИИ 03-02 скачать
- Объем бетона: 1,12 м3
- Геометрический объем: 11,2896 м3
- Цена: договорная
Стандарт изготовления изделия: Серия ИИ 03-02
Лестничные марши ребристые с полуплощадками ЛМП 59-12-16-5 н/в очень распространены в строительной сфере. Строительство гражданских и промышленных зданий должно производиться по специальным Нормам и Правилам, так как это определяет общую безопасность передвижения внутри строения. Железобетонные изделия на сегодня пользуются особой популярностью и спросом. Это объясняется их высокой прочностью, надежностью и долговечностью. В обустройстве междуэтажных конструкций используются также ЖБИ-изделия – это лестничные марши различных конструкций. Лестничные марши ребристые с полуплощадками ЛМП 59-12-16-5 н/в – это элементы особой формы, предназначенные для строительства конструкции, с помощью которой будут соединяться этажи здания. Это наклонная система, состоит из ряда ступеней.
1.Варианты написания маркировки.
Маркирование ребристых лестничных маршей ЛМП 59-12-16-5 н/в производится согласно Серии 1.050.1-2, согласно которой указывают тип изделия, размерный ряд и нагрузку. Написание обозначение производится разными способами. Примеры:
1. ЛМП 59-12-16-5 н/в;
2. ЛМП 59.12.16.5 н/в.
2.Основная сфера применения.
Лестничные марши ребристые с полуплощадками ЛМП 59-12-16-5 н/в – это часть лестницы, соединяющая этажи здания между собой. Конструкция состоит из ступеней и плит площадок. Преимуществом данного железобетонного изделия является то, что междуэтажный пролет не нужно собирать из отдельных ступеней и прочих элементов – марш цельный и дополнительно имеет полуплощадки. Это вполне законченный элемент, который устанавливается на место и не требует дополнительной доработки (может быть произведена покраска или отделка плиткой).
Марши с полуплощадками используют как в жилых многоэтажных домах, так и в различных офисных и промышленных объектах, имеющих несколько этажей. Расположенные в нижней и верхней части лестницы полуплощадки при проведении монтажных работ опирают на плиты перекрытия или непосредственно на кирпичную кладку. Это значительно сокращает время и трудоресурсы при использовании маршей тип ЛМП.
3.Обозначение маркировки изделий.
Маркирование производится согласно Серии 1.050.1-2. В обозначении ЛМП 59-12-16-5 н/в указаны следующие параметры:
1. ЛМП – лестничный марш с полуплощадками;
2. 59 – длина марша, указано в дц.;
3. 12 – ширина в дц.;
4. 16 – высота в дц.;
5. 5 – группа вертикальной нагрузки, в кПа.
Основные параметры лестничных изделий ЛМП 59-12-16-5 н/в :
1. Длина – 5880 ;
2. Ширина марша – 1200 ;
3. Высота по вертикальной линии – 1600 ;
4. Масса – 2800 ;
5. Геометрический объем – 11,2896 ;
6. Объем бетона – 1,12 .
4.Основные материалы для изготовления и характеристики.
В качестве основного материала для лестничных маршей ЛМП 59-12-16-5 н/в используются бетоны тяжелых марок высокого качества, соответствующие определенным пределам по жесткости, закаленности, трещиностойкости и прочим необходимым эксплуатационным свойствам. Качественные характеристики бетона позволяют использовать марши данного типа в различных климатических регионах, а также на объектах с высокой сейсмоустойчивостью. Количество ступеней от 3-18 шт.
При использовании спецтехники затраты строительства с использованием ЛМП 59-12-16-5 н/в сокращаются до минимума. Стойкость к истиранию делают лестничные марши незаменимыми при строительстве офисов и торговых центров с большим показателем проходимости людей. Поверхность изделия, выполненного по заказу, может быть шлифованной или выполненной из цветного бетона. Это позволяет использовать лестницы без дополнительной декоративной обработки.
Для изготовления бетон с морозостойкостью не ниже F100 (100 циклов замораживания-размораживания). Водонепроницаемость материала должна быть W2 или выше. Армирование производится сетками (тип С14 – 9 шт.) из прутков и горячекатаной проволоки, которые должны быть полностью утоплены в бетон для дополнительной защиты от коррозии. Их этих элементов сваривают пространственные каркасы (тип П11 – 1 шт.). В тело плиты закладывают строповочные петли (тип П1 – 3 шт.) и закладные изделия (тип МН1 – 12 шт. и МН2 – 4 шт.) для крепления ограждений.
5.Транспортировка и хранение.
Хранение лестничных маршей ребристых ЛМП 59-12-16-5 н/в осуществляется на специально оборудованных складах или на ровных площадках. Обустраивают щебенчато-песчаное основание. Все изделия укладывают в горизонтальном положении "на ребро". При необходимости закрепляют. Перевозка осуществляется при помощи спецтранспорта, при этом между маршами в месте расположения подъемных петель располагаются деревянные прокладки толщиной не менее 30-40 мм. Максимальная высота штабеля – 2,5 м. Подъем и погрузка осуществляются за монтажные петли, их впоследствии срезают или загибают.
| Основные | |
|---|---|
| Производитель | Собственное производство |
| Страна производитель | Беларусь |
| Пользовательские характеристики | |
| Марка бетона | М300 |
| Состояние | Новое |
- Цена: от 10 руб.
ЗАО «ФРС-Групп»
222302, РБ, Минская обл., г. Молодечно, ул. Великий Гостинец, 143Б, пом. 18, к. 432
Дата регистрации в Торговом реестре/Реестре бытовых услуг: Не подлежит занесению в реестр
Номер в Торговом реестре/Реестре бытовых услуг: Не подлежит занесению в реестр, Республика Беларусь
УНП: 692258268
Регистрационный орган: Молодечненский районный исполнительный комитет
Дата регистрации компании: 20.01.2022
Режим работы:
| День | Время работы |
|---|---|
| Понедельник | 09:00-18:00 |
| Вторник | 09:00-18:00 |
| Среда | 09:00-18:00 |
| Четверг | 09:00-18:00 |
| Пятница | 09:00-18:00 |
| Суббота | Выходной |
| Воскресенье | Выходной |