
Опорные подушки ОП 2
Опорные подушки ОП 2
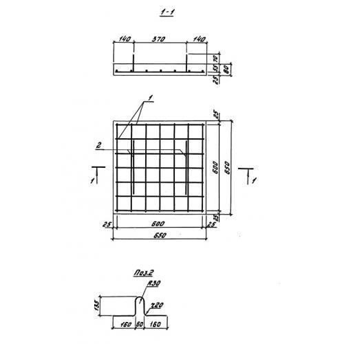
Размеры:
- Длинна: 650 мм.
- Ширина: 650 мм.
- Высота: 80 мм.
- Вес: 85 кг.
- ГОСТ, Серия: Серия 3.501.1-160 скачать
- Объем бетона: 0,034 м3
- Геометрический объем: 0,0338 м3
- Цена: договорная
Стандарт изготовления изделия: Серия 3.501.1-160
Опорные плиты ОП 2 унифицированные изделия, имеющие точную геометрическую форму. В Серии 3.501.1-160 запроектировано три типа плит по внешнему виду: круглая, квадратная и прямоугольная форма. Все изделия имеют высоту 80 мм.
Высокопрочные железобетонные опорные плиты применяются при строительстве различных опорных конструкций, необходимых для подвески контактной сети переменного и постоянного тока при электрификации железнодорожных путей нормальной колеи (шириной 1520 мм). Элементы размещаются под стойками и служат надежным основанием для опорных конструктивных сооружений. В нормативном документе запроектировано две разновидности опорных плит: под одиночные стойки (имеющие круглые и квадратные размеры) и под спаренные (прямоугольные). Изделия отличаются высокой прочностью, долговечностью и легкостью монтажа. При эксплуатации в агрессивной среде следует обеспечить защитные меры по продлению срока службы конструкций, улучшив сопротивляемость вредоносным воздействиям по рекомендациям СНиП 2.03.11-85. Элементы разрабатывались с учетом нормативных правил ВСН 12-82.
Расшифровка маркировки
Условные маркировочные обозначения позволяют быстро подбирать необходимые под типовой проект конструкции. Комбинации состоят из цифр и букв и содержат ключевые характеристики элементов. Символы ОП 2 расшифровываются:
1. ОП тип конструкции опорная плита;
2. 2 порядковый номер типоразмера элемента.
Кроме маркировочного обозначения на поверхности конструкций может указываться день, месяц и год изготовления, номер партии, масса, информация о производителе и штамп ОТК.
Материалы и производство
Полный порядок изготовления опорных плит ОП 2 прописан в Серии 3.501.1-160. К материалам предъявляются высокие требования. В качестве основы выступает тяжелый бетон класса В15 по прочности на сжатие. Морозостойкость должна составлять: при температуре наружного воздуха до -40 F150, при температуре ниже -40 F200. Водонепроницаемость элементов берется на уровне W8. Толщина защитного слоя бетона до низа рабочей арматуры составляет 25 мм.
Для придания значительной прочности изделию на стадии формования в опалубку устанавливается специальный арматурный каркас. Он производится из стержневой стали периодического профиля класса A-I по ГОСТ 5781-82. Изготовление петель осуществляется из гладкой стали с диаметром стержня 6 мм. Металлические части конструкций в обязательном порядке проходят комплекс мероприятий по защите от коррозионных образований.
Достигая отпускную прочность изделия направляются на контрольные испытания. Проверки должны оценивать качество поверхности готовой продукции, прочность и жесткость элементов с учетом требований ГОСТ 19330-91. При наличии оголенного армирования, сколов и трещин конструкции признаются некондиционными и не допускаются к отпуску.
Транспортировка и хранение
Складирование и транспортировка опорных плит ОП 2 должна осуществляться в горизонтальном положении с обязательным использованием деревянных инвентарных подкладок. Прокладочный материал должен превышать высоту выступающих частей минимум на 2 см.
Погрузочно-разгрузочный комплекс работ необходимо осуществлять специализированной техникой. Изделия требуется надежно закрепить в кузове автотранспортного средства до перевозки с целью устранения смещений, способствующих возникновению механических повреждений. Важно соблюдать правила и нормы по технике безопасности на всех этапах работы с железобетонными конструкциями.
| Основные | |
|---|---|
| Производитель | Собственное производство |
| Страна производитель | Беларусь |
| Марка бетона | М300 |
| Пользовательские характеристики | |
| Состояние | Новое |
- Цена: от 10 руб.
ЗАО «ФРС-Групп»
222302, РБ, Минская обл., г. Молодечно, ул. Великий Гостинец, 143Б, пом. 18, к. 432
Дата регистрации в Торговом реестре/Реестре бытовых услуг: Не подлежит занесению в реестр
Номер в Торговом реестре/Реестре бытовых услуг: Не подлежит занесению в реестр, Республика Беларусь
УНП: 692258268
Регистрационный орган: Молодечненский районный исполнительный комитет
Дата регистрации компании: 20.01.2022
Режим работы:
| День | Время работы |
|---|---|
| Понедельник | 09:00-18:00 |
| Вторник | 09:00-18:00 |
| Среда | 09:00-18:00 |
| Четверг | 09:00-18:00 |
| Пятница | 09:00-18:00 |
| Суббота | Выходной |
| Воскресенье | Выходной |