
Фундаменты ФСА 3-3 (ГОСТ Р 54272-2010)
Фундаменты ФСА 3-3 (ГОСТ Р 54272-2010)
Размеры:
- Длинна: 3000 мм.
- Ширина: 670 мм.
- Высота: 670 мм.
- Вес: 1350 кг.
- ГОСТ, Серия: ГОСТ Р 54272-2010 скачать
- Объем бетона: 0,54 м3
- Геометрический объем: 1,3467 м3
- Цена: договорная
Стандарт изготовления изделия: ГОСТ Р 54272-2010
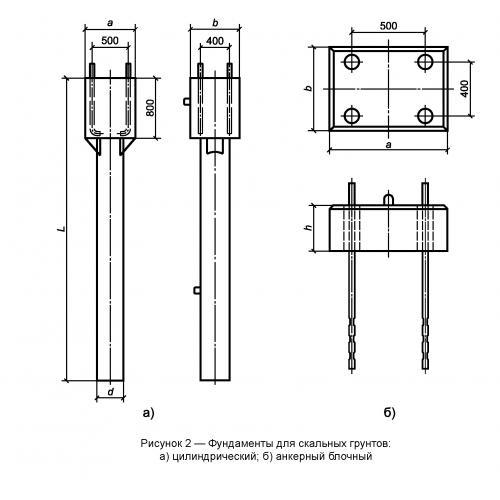
Фундаменты трехлучевые с анкерным креплением стоек для скальных грунтов ФСА 3-3 (ГОСТ Р 54272-2010) представляют собой очень прочные железобетонные изделия, имеющие вытянутую цилиндрическую форму. Сверху располагается прямоугольный блок с четырьмя штырями анкерными болтами, которые служат для закрепления стоек контактной сети. Конструкции производятся из материала высокого качества, они предназначены для твердых грунтов, оснащены анкерными креплениями, что позволяет надежно зафиксировать опоры даже в скальных грунтах.
Расшифровка маркировки
Маркировочные надписи должны иметь все без исключения железобетонные изделия. Нормативный документ ГОСТ Р 54272-2010 содержит подробную информацию о расшифровке марки ФСА 3-3 (ГОСТ Р 54272-2010), которая имеет следующее значение:
1. ФСА тип элемента фундамент скальный с анкерным креплением опор контактной сети;
2. 3 длина;
3. 3 индекс несущей способности.
Знаки наносится на поверхность каждого изделия черной несмываемой краской, устойчивой к влаге и перепаду температуры. Помимо марки, должна быть указана дата производства, номер партии, логотип изготовителя, масса элемента и штамп ОТК.
Основные характеристики и изготовление
Фундаменты трехлучевые с анкерным креплением опор для скальных грунтов ФСА 3-3 (ГОСТ Р 54272-2010) производят на заводах, оснащенных современным оборудованием в полном соответствии с рабочими чертежами и нормами ГОСТ 54272-2010. При изготовлении железобетонных изделий должен быть обязательно обеспечен пооперационный контроль за качеством используемого материала. Основой данного вида изделий выступает тяжелый бетон класса B30. Водонепроницаемость запроектирована марки W6 по требованиям ГОСТ 26633, а морозостойкость устанавливается исходя из расчетной температуры воздуха в районе эксплуатации, она должна быть принята от F150 до F200. Прочность конструкциям придает качественное армирование арматурными каркасами. В качестве рабочей арматуры используется горячекатаная сталь класса AIII. В теле железобетонных изделий предусмотрены строповочные петли, которые необходимы для подъема на высоту и при монтаже, они запроектированы из стали класса A-I. Анкерные болты изготавливаются из стали C245 марки Ст3сп5. Важным этапом является мероприятия по защите от коррозии. Металлические составляющие, в обязательном порядке покрываются антикоррозионными и гидроизоляционными составами. Каждая готовая партия изделий проходит контрольную проверку на качество. Они должны быть изготовлены из одного материала, по одной технологии, их проверяют на прочность, трещиностойкость, не должно быть никаких пятен, наплывов бетон и других изъянов. Изделия, которые подтвердили свою готовность к отпуску, получают сертификат соответствия, а те, что не прошли контроль, отправляются на ремонт.
Хранение и транспортировка
Хранение фундаментов ФСА 3-3 (ГОСТ Р 54272-2010) осуществляется на оборудованных складских территориях с опиранием на деревянные подкладки. Маркировочные символы должны быть хорошо видны. Транспортировка производится автомобильным транспортом или железнодорожными платформами. При перевозке необходимо надежно зафиксировать все изделия, чтобы не происходило смещений во время движения транспорта. Погрузочно-разгрузочные работы необходимо осуществлять при помощи специализированной техники с соблюдением всех правил техники безопасности. Поднимают изделия за строповочные петли. Подъездной путь должен быть оборудован. Запрещается подвергать конструкции падению, а также перемещать волоком. Нарушение правил хранения и перевозки приводит к порче изделия, потере заложенных производителем свойств и невозможности его дальнейшей эксплуатации.
| Основные | |
|---|---|
| Производитель | Собственное производство |
| Страна производитель | Беларусь |
| Марка бетона | M500 |
- Цена: от 10 руб.
ЗАО «ФРС-Групп»
222302, РБ, Минская обл., г. Молодечно, ул. Великий Гостинец, 143Б, пом. 18, к. 432
Дата регистрации в Торговом реестре/Реестре бытовых услуг: Не подлежит занесению в реестр
Номер в Торговом реестре/Реестре бытовых услуг: Не подлежит занесению в реестр, Республика Беларусь
УНП: 692258268
Регистрационный орган: Молодечненский районный исполнительный комитет
Дата регистрации компании: 20.01.2022
Режим работы:
| День | Время работы |
|---|---|
| Понедельник | 09:00-18:00 |
| Вторник | 09:00-18:00 |
| Среда | 09:00-18:00 |
| Четверг | 09:00-18:00 |
| Пятница | 09:00-18:00 |
| Суббота | Выходной |
| Воскресенье | Выходной |