
Фундаменты ТСС 4,0-3 (ГОСТ Р 54272-2010)
Фундаменты ТСС 4,0-3 (ГОСТ Р 54272-2010)
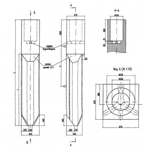
Размеры:
- Длинна: 4000 мм.
- Ширина: 670 мм.
- Высота: 670 мм.
- Вес: 1800 кг.
- ГОСТ, Серия: ГОСТ Р 54272-2010 скачать
- Объем бетона: 0,72 м3
- Геометрический объем: 1,7956 м3
- Цена: договорная
Стандарт изготовления изделия: ГОСТ Р 54272-2010
Фундаменты трехлучевые стаканные ТСС 4,0-3 (ГОСТ Р 54272-2010) строительные элементы, имеющие специфический вид, конструктивно представлены прямоугольной формы, в поперечном сечении располагаются три луча. Являются прочной основой и применяются для установки опор контактной сети на железных дорогах, с переменным и постоянным током. Рабочие чертежи конструкций представлены в ГОСТ Р 54272-2010. Изделия данного вида обладают высокой прочностью, применяются практически во всех климатических районах, надежны и могут воспринимать значительные нагрузки. Благодаря быстрому и легкому погружению в грунт, ускоряют процесс монтажа.
Расшифровка маркировки
Маркировочные обозначения обязательно пишут в документации и на готовом железобетонном изделии. Символы состоят из букв и цифр и хорошо помогают ориентироваться в номенклатурном ряду. Согласно ГОСТ Р 54272-2010 маркировочное обозначение ТСС 4,0-3 (ГОСТ Р 54272-2010) будет расшифровываться следующим образом:
1. ТСС тип конструкции трехлучевой фундамент стаканный;
2. 4,0 длина изделия;
3. 3 индекс несущей способности.
Маркировка должна наноситься несмываемой черной краской, устойчивой к воде и частым перепадам температуры. Допускается использование трафаретов и штампов. Дополнительно проставляется знак отдела технического контроля, дата выпуска, информация о производителе и вес изделия.
Основные характеристики и изготовление
Фундаменты трехлучевые стаканные ТСС 4,0-3 (ГОСТ Р 54272-2010) должны изготавливаться в полном соблюдении всех требований ГОСТ Р 54272-2010. Основным материалом выступает тяжелый бетон класса B30. Водонепроницаемость запроектирована марки W6, а морозостойкость назначается в зависимости от расчетной температуры воздуха в районе будущей застройки, согласно действующему нормативу, она варьируется от F150 до F200. Для придания дополнительной прочности, изделия армируются арматурными каркасами. Рабочая арматура выполняется из стали класса AIII. Для удобства монтажа применяются строповочные петли, запроектированные из стали класса A-I. Все металлические составляющие в обязательном порядке покрываются антикоррозионными составами. При высоком содержании грунтовых вод в районе застройки следует обеспечить дополнительную гидроизоляцию изделий специальными растворами. Отпускная прочность бетона согласно ГОСТ Р54272-2010 должна составлять не менее 80% от проектной. На производстве особое внимание уделяется выходному контролю качества изделий. Для этого каждая партия проходит контрольные испытания. Все фундаменты должны геометрически соответствовать рабочим чертежам, представленным в ГОСТ Р 54272-2010. Элементы проверяются на прочность, жесткость и трещиностойкость. Продукция, соответствующая всем требованиям, имеет штамп отдела технического контроля, а также получает подтверждающий эксплуатационные и качественные характеристики документ и допускаются к отпуску.
Транспортировка и хранение
Складирование и транспортировку фундаментов ТСС 4,0-3 (ГОСТ Р 54272-2010) необходимо осуществлять по определенным правилам, которые прописаны в ГОСТ Р 54272-2010. Хранятся изделия на специальной площадке с тщательно выровненной поверхностью. Укладка производится в штабеля с обязательным применением инвертарных подкладок, чтобы изолировать элементы друг от друга, тем самым предотвратить трения. Конструкции разрешается перевозить на автомобильном и железнодорожном транспорте, при этом их необходимо надежно закрепить в кузове транспорта. Для монтажа и подъема используются специализированные оборудования. Запрещается навал, сброс железобетонных изделий при погрузочно-разгрузочных работах. Обязательно соблюдать осторожность и руководствоваться правилами техники безопасности.
| Основные | |
|---|---|
| Производитель | Собственное производство |
| Страна производитель | Беларусь |
| Марка бетона | M500 |
- Цена: от 10 руб.
ЗАО «ФРС-Групп»
222302, РБ, Минская обл., г. Молодечно, ул. Великий Гостинец, 143Б, пом. 18, к. 432
Дата регистрации в Торговом реестре/Реестре бытовых услуг: Не подлежит занесению в реестр
Номер в Торговом реестре/Реестре бытовых услуг: Не подлежит занесению в реестр, Республика Беларусь
УНП: 692258268
Регистрационный орган: Молодечненский районный исполнительный комитет
Дата регистрации компании: 20.01.2022
Режим работы:
| День | Время работы |
|---|---|
| Понедельник | 09:00-18:00 |
| Вторник | 09:00-18:00 |
| Среда | 09:00-18:00 |
| Четверг | 09:00-18:00 |
| Пятница | 09:00-18:00 |
| Суббота | Выходной |
| Воскресенье | Выходной |