
Фундаментные блоки ФБС 29-4-3 т-2 а (шифр 27Н-83)
Фундаментные блоки ФБС 29-4-3 т-2 а (шифр 27Н-83)
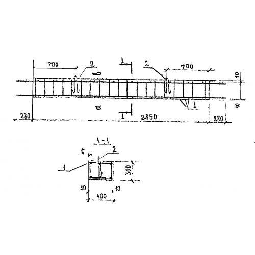
Размеры:
- Длинна: 2850 мм.
- Ширина: 400 мм.
- Высота: 300 мм.
- Вес: 860 кг.
- ГОСТ, Серия: Шифр 27Н-83 скачать
- Объем бетона: 0,344 м3
- Геометрический объем: 0,342 м3
- Цена: договорная
Стандарт изготовления изделия: Шифр 27Н-83
Фундаментные блоки ФБС 29-4-3 т-2 а (шифр 27Н-83) унифицированные железобетонные изделия прямоугольной формы. Характерной отличительной особенностью конструкции является наличие выступающей арматуры на торцевых концах элемента, предназначенной для сцепления со смежными изделиями.
Высокопрочные железобетонные фундаментные блоки широко применяются при строительстве жилых домов на сельскохозяйственных территориях. Изделие служит основой будущей постройке. Прочность, долговечность и способность выдерживать колоссальные нагрузки делают конструкции экономически целесообразным материалом для строительства жилых домов и различных объектов сельскохозяйственного назначения. По скоростному напору ветра элементы благоприятно применять в I-IV районах. По массе снегового покрова I-V. Изделия рассчитаны на эксплуатацию в районах с сейсмичностью до 6 баллов, но при соблюдении мер в соответствии со СНиП II-7-81 допускается применение конструкций в районах с толчками до 9 баллов. Элементы разрабатывались в соответствии с рекомендациями СНиП II-15-74.
Расшифровка маркировки
Для упрощения складирования, транспортировки и подбора требуемых по типовому проекту элементов, были разработаны специальные маркировочные обозначения информационного характера. Они состоят из комбинаций цифр и букв, содержащих ключевые характеристики. ФБС 29-4-3 т-2 а (шифр 27Н-83) имеет следующую расшифровку:
1. ФБС тип конструкции фундаментный блок сплошной;
2. 29 длина;
3. 4 ширина;
4. 3 высота;
5. т тяжелый бетон;
6. 2 тип армирования;
7. а пространственные каркасы перевернуты (зеркально размещены).
Материалы и производство
Порядок производства, требования к материалам и рабочие чертежи изделий представлены в нормативном документе Шифр 27Н-83. По регламенту рекомендуется осуществлять изготовление в металлических формах. Основным материалом выступает тяжелый бетон марки М200 по прочности на сжатие. Толщина защитного бетонного слоя до поверхностей рабочей арматуры равна 40 мм. Марки водонепроницаемости и морозостойкости бетона зависят от климатических особенностей и условий эксплуатации в регионе застройки. Минимальные значения приняты на уровне W2 и F50.
В конструкции присутствуют пространственные каркасы, придающие дополнительную прочность и выносливость изделию. Они производятся из высокопрочной стали класса AIII по ГОСТ 5781-82 с диаметром стержней 10 и 12 мм. Для продольного армирования используется проволока класса Bp-I по ГОСТ 6727-80, диаметр прутка 4 мм. В теле элемента предусмотрены монтажные петли из горячекатаной стали класса AI марок ВСт3сп2 и ВСт3пс2. Допускается использование стали класса Ac-II марки 10ГТ. Все металлические элементы в обязательном порядке проходят антикоррозионную обработку специальными составами.
До поставок потребителю конструкции подвергаются гидроизоляционной обработке, должны набрать отпускную прочность и пройти контрольные испытания. По результатам проверок выдаются соответствующие документы.
Транспортировка и хранение
Железобетонные фундаментные блоки рекомендуется укладывать в горизонтальные штабеля высотой не более 2,5 м. Изделия должны храниться на выровненной территории на деревянных опорах с обязательным прокладыванием изоляционных материалов. Следует предохранять арматурные выпуски от механических повреждений.
Погрузочно-разгрузочные работы необходимо осуществлять с помощью специализированной техники исключительно за строповочные петли. Допускается использование любого грузового транспорта, оборудованного крепежными приспособлениями и фиксаторами.
| Основные | |
|---|---|
| Производитель | Собственное производство |
| Страна производитель | Беларусь |
| Марка бетона | М300 |
| Пользовательские характеристики | |
| Состояние | Новое |
- Цена: от 10 руб.
ЗАО «ФРС-Групп»
222302, РБ, Минская обл., г. Молодечно, ул. Великий Гостинец, 143Б, пом. 18, к. 432
Дата регистрации в Торговом реестре/Реестре бытовых услуг: Не подлежит занесению в реестр
Номер в Торговом реестре/Реестре бытовых услуг: Не подлежит занесению в реестр, Республика Беларусь
УНП: 692258268
Регистрационный орган: Молодечненский районный исполнительный комитет
Дата регистрации компании: 20.01.2022
Режим работы:
| День | Время работы |
|---|---|
| Понедельник | 09:00-18:00 |
| Вторник | 09:00-18:00 |
| Среда | 09:00-18:00 |
| Четверг | 09:00-18:00 |
| Пятница | 09:00-18:00 |
| Суббота | Выходной |
| Воскресенье | Выходной |